# 8. 图表配置
# 8.1 表格
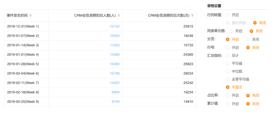
适用于所有指标、维度的数据分析。

表格配置项:
行列转置:
默认关闭,当选择开启时,表格的横列顺序会颠倒过来;
同类单元格:
默认关闭,当选择合并时,分组的同类型单元格会合并显示;
分页:
默认开启,报表数据分页查看,每页支持选择15条、30条、50条,适用于数据条数较多的报表;
行号:
默认关闭,表格每页显示的行数,方便用户准确定位数据位置,切换表格分页后行数重新计算;
汇总指标:
默认不显示,适用于表格数值的总计、中位数、平均值、去零平均值的统计,显示在统计表格的第一行;
对比率:
默认关闭,查询时间范围内,同一指标中单个数值占总数值的比率,占比率由前端直接计算得出;
累计值:
默认关闭,仅适用于按“事件发生时间”分组的数据分析,即指标数值历史数据的汇总。
# 8.2 指标卡
适用于一个指标、没有分组方式的数据分析。

指标卡配置项:
字号:
默认显示48号,支持自定义字号大小;
千分位:
默认开启,方便用户浏览大的数值;
小数:
默认关闭,适用于“金额、积分“等有小数点的数据;
单位:
默认为空,配置单位更能准确表达数值含义,如“元、个“等;
指标名称:
默认不显示,若配置为显示,指标卡中的数值上方会显示数值名称;
指标名称字号:
默认显示14号,支持自定义字号大小。
# 8.3 饼图
适用于一个指标、一个分组方式的数据分析。

饼图显示配置项:
形状设置: 支持饼型图、环形图自由切换;
空心占比: 若形状设置为“环形”,则支持自定义环形空心的大小;
饼图中心: 默认上下居中,支持自定义饼图显示的上下位置。
分组名称配置项:
分组名称: 默认显示,当选择显示时,饼图每一块的分组名称会显示出来;。
数值: 默认显示,选择显示时,饼图每一块的数值会显示出来;
百分比: 默认显示,选择显示时,饼图每一块的数值后边会显示百分比;
引导线: 默认显示,选择显示时,饼图与指标名称、数值、百分比之间显示连接线。
汇总信息配置项
汇总指标: 默认不显示,饼图数值的总计、中位数、平均值统计,显示在饼图左上角。
图例配置项
图例: 默认不显示,指饼图中各种色块代表的含义;
显示位置: 默认靠下居中,支持图例显示位置(靠下居中、靠上居中、靠左居中、靠右)位置切换;
展示方式: 图例显示支持普通、滚动翻页两种方式,默认滚动翻页显示。
# 8.4 线图
适用于任何指标数据分析.

线图显示配置项
图表样式: 默认直线,展示折线图;选择面积直线,展示面积折线图,线内有色块填充;选择曲线,展示曲线图;选择面积曲线,展示面积曲线图,线内有色块填充;
数据点: 默认显示,指线图上的每个数值对应的显示位置;
累计线: 默认关闭,仅适用于第一个维度(分组)为“事件发生时间”的数据分析,累计值是指选定时间范围内,同一维度(分组)中所有数值的连续累计。累计线开启后,汇总线不可用;
汇总线: 默认关闭,适用于存在两个及两个以上分组方式的数据分析,汇总值是指选定时间范围内,同一维度(分组)中所有数值的汇总指标,包含汇总值、平均值;
坐标轴配置项
X轴: 默认显示,可根据业务需要隐藏X轴;
X轴标题: 默认不显示,可根据业务需要是否显示;
显示优化: 默认开启,开启后X轴上的维度(分组)名称根据间距自动优化显示内容;
Y轴: 默认显示,可根据业务需要隐藏Y轴;
Y轴线: 默认显示,可根据业务需要隐藏Y轴线;
Y轴标题: 默认显示,可根据业务需要隐藏Y轴线;Y轴标题显示位置可调整(左侧居中或Y轴顶部);
Y轴范围: 默认指标范围的最小值-最大值,用户可自定义调整Y轴指标的显示范围;
网格线: 默认不显示,可根据业务需要决定是否显示;
缩略轴: 默认关闭,适用于X轴维度(分组)较多的情况(如事件发生时间“按天”进行分组),方便用户查看局部细节数据;
辅助线配置项
辅助线: 默认不显示,支持固定值、图表字段的(最大值、平均值、最小值)设置;
标记
标记: 默认不显示,即为线图上显示的具体数值.
图例配置项
图例: 默认不显示,指线图中不同颜色线条代表的含义;
显示位置: 默认靠下居中,支持图例显示位置(靠下居中、靠上居中、靠左居中、靠右)位置切换;
展示方式 图例显示支持普通、滚动翻页两种方式,默认滚动翻页显示.
汇总信息配置项
汇总指标: 默认不显示,仅适用于一个指标、一个分组方式的数据分析。汇总指标包括总计、中位数、平均值,显示在线图的左上角。
# 8.5 柱图
适用于任何指标数据分析.

柱图显示配置 项
图表样式: 默认“竖向”,可设置为“横向”;
堆积展示: 默认关闭,适用于两个及两个以上的分组方式是数据分析,堆积是将同一分组方式的不同属性数据按照百分比堆叠在一起;
百分比: 开启“堆积展示”后才会显示百分比,默认关闭,用户可选择以百分比的形式展示同一分组方式中的不同属性的数据占比;
坐标轴配置项
X轴: 默认显示,可根据业务需要隐藏X轴;
X轴标题: 默认不显示,可根据业务需要是否显示;
显示优化: 默认开启,开启后X轴上的维度(分组)名称根据间距自动优化显示内容;
Y轴: 默认显示,可根据业务需要隐藏Y轴;
Y轴线: 默认显示,可根据业务需要隐藏Y轴线;
Y轴标题: 默认显示,可根据业务需要隐藏Y轴线;Y轴标题显示位置可调整(左侧居中或Y轴顶部);
Y轴范围: 默认指标范围的最小值-最大值,用户可自定义调整Y轴指标的显示范围;
网格线: 默认不显示,可根据业务需要决定是否显示;
缩略轴: 默认关闭,适用于X轴维度(分组)较多的情况(如事件发生时间“按天”进行分组),方便用户查看局部细节数据;
辅助线配置项
辅助线: 默认不显示,支持固定值、图表字段的(最大值、平均值、最小值)设置;
标记配置项
标记: 默认不显示,即为线图上显示的具体数值.
图例配置项
图例: 默认不显示,指线图中不同颜色线条代表的含义;
显示位置: 默认靠下居中,支持图例显示位置(靠下居中、靠上居中、靠左居中、靠右)位置切换;
展示方式 图例显示支持普通、滚动翻页两种方式,默认滚动翻页显示.
汇总信息配置项
汇总指标: 默认不显示,仅适用于一个指标、一个分组方式的数据分析。汇总指标包括总计、中位数、平均值,显示在线图的左上角。
# 8.6 多轴图
适用于两个及两个以上指标数据分析。

多轴图配置项
X轴: 默认显示,可根据业务需要隐藏X轴;
X轴标题: 默认不显示,可根据业务需要是否显示;
显示优化: 默认开启,开启后X轴上的维度(分组)名称根据间距自动优化显示内容;
网格线: 默认不显示,可根据业务需要决定是否显示;
缩略轴: 默认关闭,适用于X轴维度(分组)较多的情况(如事件发生时间“按天”进行分组),方便用户查看局部细节数据。
# 8.7 散点图
适用于两个指标的数据分析。

坐标轴配置项
X轴: 默认显示,可根据业务需要隐藏X轴;
X轴标题: 默认不显示,可根据业务需要是否显示;
显示优化: 默认开启,开启后X轴上的维度(分组)名称根据间距自动优化显示内容;
Y轴: 默认显示,可根据业务需要隐藏Y轴;
Y轴线: 默认显示,可根据业务需要隐藏Y轴线;
Y轴标题: 默认显示,可根据业务需要隐藏Y轴线;Y轴标题显示位置可调整(左侧居中或Y轴顶部);
Y轴范围: 默认指标范围的最小值-最大值,用户可自定义调整Y轴指标的显示范围;
网格线: 默认不显示,可根据业务需要决定是否显示;
缩略轴: 默认关闭,适用于X轴维度(分组)较多的情况(如事件发生时间“按天”进行分组),方便用户查看局部细节数据;
标记
标记: 默认不显示,即为散点图上显示的具体数值;
辅助线
辅助线可以将图划分成四象限,可以填入固定值,或自动按横纵坐标平均值划分,默 认“关闭”。
# 8.8 气泡图
适用于三个指标的数据分析。

坐标轴配置项
**X轴:**默认显示,可根据业务需要隐藏X轴;
X轴标题: 默认不显示,可根据业务需要是否显示;
显示优化: 默认开启,开启后X轴上的维度(分组)名称根据间距自动优化显示内容;
Y轴: 默认显示,可根据业务需要隐藏Y轴;
Y轴线: 默认显示,可根据业务需要隐藏Y轴线;
Y轴标题: 默认显示,可根据业务需要隐藏Y轴线;Y轴标题显示位置可调整(左侧居中或Y轴顶部);
Y轴范围: 默认指标范围的最小值-最大值,用户可自定义调整Y轴指标的显示范围;
网格线: 默认不显示,可根据业务需要决定是否显示;
缩略轴: 默认关闭,适用于X轴维度(分组)较多的情况(如事件发生时间“按天”进行分组),方便用户查看局部细节数据.
标记配置项
标记: 默认不显示,即为散点图上显示的具体数值;
辅助线配置项
辅助线可以将图划分成四象限,可以填入固定值,或自动按横纵坐标平均值划分,默 认“关闭”。
# 8.9 计量图
适用于单个事件指标的数据分析。

计量图配置项
指标名称: 默认不显示,即计量图中数值上方的指标名称;
指标: 默认数值,可设置百分比显示;
目标值: 绘制计量图时务必要设定目标值,有目标值才能有效的反映任务的完成度。
# 8.10 雷达图
适用于三个及三个以上指标数据分析。

雷达图配置项
图表样式: 默认线图,展示线形,选择面积图后,线内面积会填充;
标记: 默认不显示,当选择显示时,图上的具体数字会显示出来。
# 8.11 店铺热力图
仅适用于实体为店铺、1个数据指标、分组方式(分组)必须为“店铺名”和“店铺ID”,筛选条件为具体的“楼层”。

店铺热力图配置项
图表标题: 图表标题属于全局变量,既所有图表通用一个标题。默认图表标题名称为事件+指标 名称排列,如“购买团购的总人数,购买团购的总次数”。
标记名称: 默认不显示,当选择显示时,图上的店铺名称会显示出来。
图例最大值: 默认自动调节热力图颜色,当勾选后,可以自由设置颜色最大值。
# 8.12 关系图
仅适用于模板分析_关联模型的数据分析。支持配置关联数。

# 8.13 桑基图
仅适用于模板分析_路径模型的数据分析。支持配置是否显示标记.

# 8.14 漏斗图
仅适用于模板分析_漏斗模型的数据分析。支持配置是否显示图例.
# 8.15 表格热力图
仅适用于模板分析_留存、分布模型的数据分析。支持配置是否显示占比.
